ACTI’Street - J5241

Il prodotto J5241 fa parte della gamma "ACTI’Street", è adatto ad essere utilizzato dai 14 anni e può ospitare fino a 1 utilizzatore in contemporanea.

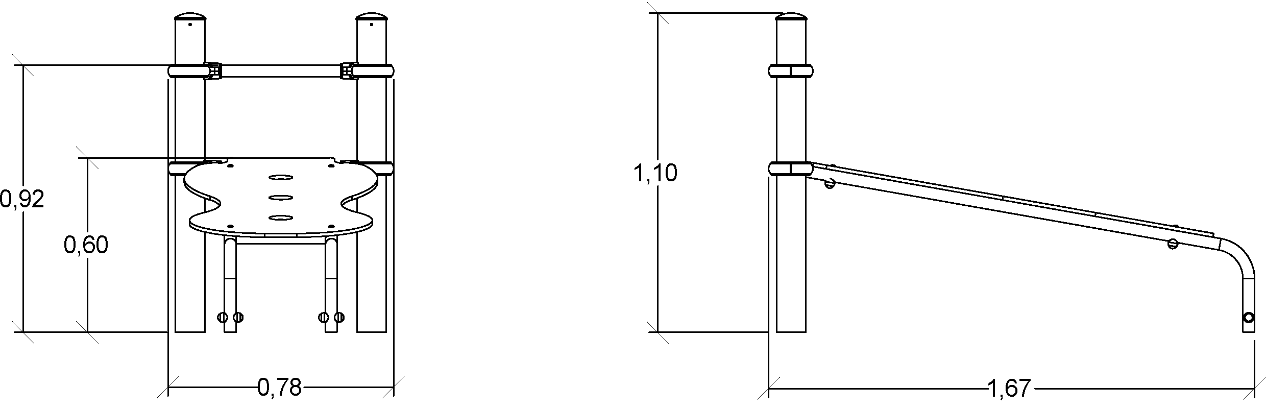
Le dimensioni del prodotto sono: 1,65 m di lunghezza, 0,78 m di larghezza, 1,10 m di altezza. L'altezza di caduta libera massima (HCL) è di 0,95 m.

Brevemente

Equazione dello sport Equazione dello sport

Equazione dello sport

Stimolazione muscolare

Stimolazione muscolare

2 attività sportive

Push-ups
Push-ups x1
Addominali
Addominali x1

Caratteristiche

Fascia d'età : 14+
Numero di utilizzatori : 1 utilizzatore
HCL : 0,95 m
Dimensioni : 1,65 x 0,78 x 1,10 m

Installazione dell'attrezzatura

Numero di installatori : 2
Tempo di installazione : 02:00:00
Volume di calcestruzzo : 0,30 m³
Superficie : 16,00 m²
Peso totale : 63,16 kg
Peso dell'elemento più pesante : 14,08 kg

Certificazione

Tutti i giochi e le attrezzature sportive della nostra offerta standard sono certificati da un laboratorio indipendente.

Materiali

I pali portanti circolari, diametro 102 mm,

I pali portanti circolari, diametro 102 mm, sono in acciaio galvanizzato verniciato. La finitura granulare aumenta la resistenza alle incisioni e agli atti vandalici. I coperchi sono in... alluminio verniciato. Leggi di più

I tubi

I tubi sono in acciaio inox (diametro 40 mm), rivestiti con vernice epossidica satinata (RAL 9005).

I raccordi e i pezzi di giunzione

I raccordi e i pezzi di giunzione sono in alluminio verniciato.

Le pannellature

Le pannellature sono in HPL colorato, spessore 13 mm.

Tutti gli elementi di fissaggio

Tutti gli elementi di fissaggio sono in acciaio INOX e vengono protetti da capsule antivandalismo in poliammide.