Biky - Moto Gioco a molla 1 posto - J835®
Il prodotto J835® fa parte della gamma "Giochi a molla", è adatto ad essere utilizzato dai 2 anni e può ospitare fino a 1 utilizzatore in contemporanea.
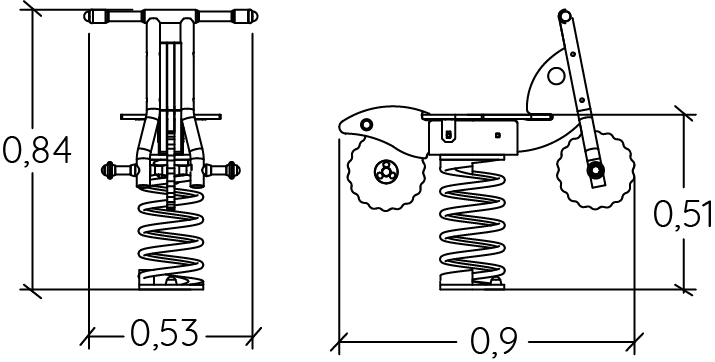
Le dimensioni del prodotto sono: 0,90 m di lunghezza, 0,53 m di larghezza, 0,84 m di altezza. L'altezza di caduta libera massima (HCL) è di 0,60 m.